Sony registró en 2010 una patente que le ha sido concedida ahora para una nueva tecnología de control que ha sido rápidamente comparada con el mando de la consola Wii U de Nintendo, que se lanzará este mismo año, a tiempo para la campaña navideña.
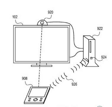
La patente, bajo el nombre “Position-Dependent Gaming 3-D controller, and Handheld as a Remote” presenta un dispositivo que puede usarse como mando de una consola o como un dispositivo independiente con pantalla y cámaras que usan un sistema de control a través de la misma así como lo que podría compararse con la realidad aumentada. Un funcionamiento similar se vio en el vídeo de demostración de posibilidades del mando de Wii U que se presentó en el E3 de 2011.
En la patente se puede ver un dispositivo con una pantalla a través de la cuál presenta objetos y permite interactuar también con los que aparecen en un televisor. El dispositivo se usa, además, como un mando.
“Usando la posición del dispositivo móvil, la orientación de visión y otros dispositivos de localización de posición del dispositivo, un avatar (o un vehículo, etc.)”, explica la patente, el sistema permite representar e interpretar el movimiento del dispositivo, del usuario, etc. Incluso “podría estimar la cabeza del usuario y la posición del cuerpo”.
La patente indica que el dispositivo basa su funcionamiento en su posición y parece que podría aplicarse tanto en sistemas portátiles como en un mando para un sistema doméstico.
Info: venturebeat.com

